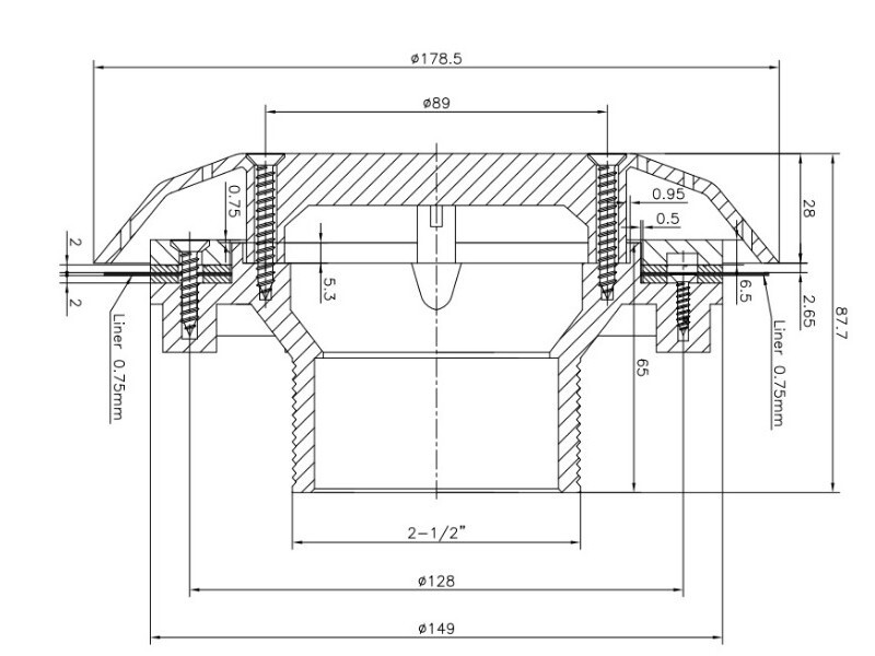
Характеристики
Характеристики
Производитель
Kripsol
Страна
Испания
Материал
Пластик
Тип стенок бассейна
Лайнер



